導軌滑塊配件
- 產品介紹
- 技術參數
- 產品圖片
力士樂前置潤滑單元R161912500安裝和使用方面的突出優點:
—可以實現運行1000公里無需補充鈣潤滑
—滾珠滑塊僅需初始脂潤滑
—滾珠滑塊兩端均加裝前置潤滑單元
—潤滑劑損失小
—降低了潤滑油的消耗量
—無需任何潤滑管路
—*高工作溫度達60℃
—可通過端面或側面的潤滑嘴為前置潤滑單元補充潤滑劑
—前置潤滑單元端面的潤滑接口適用于為滑塊進行脂潤滑

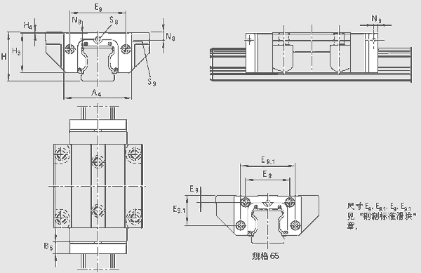
| A4 | 31.8 | |
| B5 | 11.5 | |
| E8 | 24.55 | |
| E92) | 6.70 | 10.703) |
| H | 24 | 283) |
| H32) | 19.40 | 23.403) |
| K2 | 5 | |
| K3/K42) | 3.35 | 7.353) |
| S12 | M3 | |
| S12 | M3 | |
| 油 cm3 | 1.00 | |
| 重量 g | 15 |
2)參考基準為滾珠滑塊的裝配面
3)針對S.H(窄型...高)滾珠滑塊








